静电喷涂原理及组成
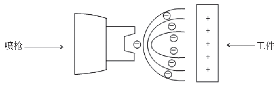
静电喷漆以工件为正电极,通常情况下接地即可;漆料雾化装置为负电极,接电源负高压,与工件之间形成一个高压静电场。漆料在压缩空气压力作用下高速挤入喷嘴中,撞击在喷嘴上,反弹后形成微米级雾化颗粒,通过喷嘴圆形出口形成均匀喷雾,由于电晕放电作用,使喷嘴喷出的漆料带负电,根据“同性相斥”原理,漆料粒子相互排斥,进一步雾化;根据“异性相吸”原理,带负电荷的漆料介质在电场力的作用下对工件形成环抱效果,沿电力线定向地流向带正电荷的工件表面,堆积成一层均匀、附着牢固的薄膜,经过干燥后形成漆膜。

生产现场使用的静电喷涂设备由无气喷涂设备(泵体)和混气静电喷枪组成。泵体与静电喷枪的装配结构如下。

喷涂质量影响因素
从产品质量六因素---人、机、料、法、环、测的影响静电喷涂质量的因素进行分析,确认了以下5个末端因素。

以下原因分析,均以某大型整机喷漆现场为例。
2.1 员工操作技能因素
对生产现场喷漆操作人员的操作合格证及从业年限进行统计分析,人员均按要求参加了培训中心组织的培训和考试,并取得了操作合格证,且从业年限均在8年以上,具有丰富的喷涂经验。对喷涂不均匀故障的反馈进行分析,认为故障与操作人员无明显对应关系。故障操作者技能不足不是主要因素。
2.2 原材料品质因素
油漆、稀释剂、固化剂在使用前均经过了化验,合格后才使用。喷涂过程中没有出现大面积涂料喷涂不均匀故障,因此认为,由于油漆、固化剂、稀释剂等原材料不合格而导致漆料喷涂不均匀的可能性较小。
2.3 压缩空气压力分析
喷涂压缩空气压力不足易使漆料雾化不足或漆料喷涂动力不足,从而导致喷涂不均匀。生产现场一般要求喷枪压力为0.35~0.5MPa,静电喷枪泵体仪表上有静电喷枪压缩空气的压力指示器,可随时监控压缩空气的压力值。现场反馈,未在压缩空气压力不足时进行喷涂作业,故喷涂压缩空气不足不是主要因素。
2.4 喷枪环境温湿度的影响分析
喷漆时,环境温湿度对喷漆质量有影响。如果施工场地相对湿度太高,超过80%或达到饱和程度,由于金属表面吸附水气的作用,会使喷涂表面附着一层极薄的肉眼难见的水幕,从而影响漆料成膜质量。因此规定施工场地以温度18~25℃、相对湿度45%~65%为宜,环境温度不得超出12~30℃的范围,相对湿度不得超过80%。查阅现场温湿度记录表及工作记录,未在温湿度不符合要求时作业,故喷涂环境温湿度的影响不是主要原因。
静电喷枪不满足要求分析及解决方案,因篇幅不足,下周将继续为大家讲解,敬请期待!
该文章摘自于凌云科技,如侵权,请告知删除!